-
专利 -
商标 -
版权 -
商业秘密 -
反不正当竞争 -
植物新品种 -
地理标志 -
集成电路布图设计 -
技术合同 -
传统文化
律师动态
更多 >>知产速递
更多 >>审判动态
更多 >>案例聚焦
更多 >>法官视点
更多 >>裁判文书
更多 >>“米家无线吸尘器”专利侵权案,原告戴森撤诉
2022年12月30日,上海知识产权法院发布(2021)沪73知民初1233号之一的判决:
原告戴森技术有限公司与被告北京顺造科技有限公司、小米通讯技术有限公司、小米之家商业有限公司上海第一分公司侵害发明专利权纠纷一案,本院于2021年10月18日立案。原告戴森技术有限公司于2022年12月8日向本院提出撤诉申请。
准许原告戴森技术有限公司撤诉。
双方这起纠纷始于2021年10月。
原告戴森公司表示其是专利号为ZL201080061529.4,名称为“表面处理器具”发明专利的专利权人。原告发现三被告在共同制造、销售侵犯ZL201080061529.4号专利的产品。2021年6月24日原告的代理人购得了涉案侵权产品“米家无线吸尘器K10Pro”,生产者为“北京顺造科技有限公司”、委托方为“小米通讯技术有限公司”。
因此,向上海市知识产权法院提出诉讼请求:
1、判令三被告立即停止侵害原告享有的专利号为ZL201080061529.4,名称为“表面处理器具”的发明专利权,即立即停止制造、销售、许诺销售落入该专利权保护范围的吸尘器产品;
2、判令被告顺造公司立即销毁用于制造被控侵权产品的设备、模具及工具,销毁库存被控侵权产品的成品、半成品;
3、判令三被告连带赔偿原告经济损失人民币100万元(包括原告为制止侵权支出的调查费、公证费、律师费、购买样品费等合理费用)。
此后,被告顺造公司和小米公司提出管辖权异议,但是上海知识产权法院于2021年底驳回了顺造公司和小米公司的请求。二者不服,继续上诉到最高人民法院。
最高人民法院在2022年4月做出(2022)最高法知民辖终103号决定中,维持了一审判决,并认为:
小米之家公司住所地上海市构成本案可争辩的地域管辖连结点,且本案属于侵害发明专利权纠纷案件,根据上述法律、司法解释规定,原审法院对本案具有管辖权。虽然,北京顺造公司、小米通讯公司住所地北京市亦是本案的地域管辖连结点之一,但该管辖连结点的存在,并不影响原审法院对本案行使管辖权。
实际上,戴森公司和国内吸尘器的厂商几乎都交过手,是业内典型的专利维权专家。而且和小米产业链的公司发生过多起专利纠纷。
2022年3月,戴森公司成功无效了小米公司的一件专利ZL201711320559.2号(名称为“控制风力设备及其工作模式控制方法”)。猜测可能是戴森与小米有品合作方“直白”品牌发生了纠纷。
而这一次则是小米系的顺造。
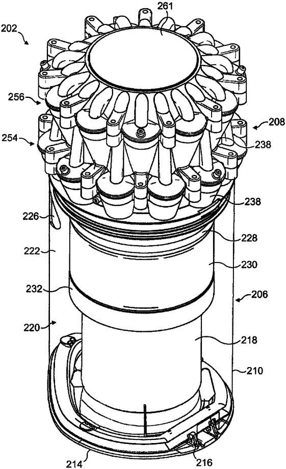
此次戴森拿出维权的这件名为“表面处理器”的专利ZL201080061529.4的专利。根据说明书显示,涉及的是立式真空吸尘器。解决的减小的旋风器容易被堵塞,损害空气流通和清洁效率等问题。
![]()

戴森专利
无论从参数还是效果来看,顺造的产品性能与戴森还是相差不大的,但是从价格上来看,就便宜太多了。
最终本案戴森选择撤诉,或许与国家知识产权局在2022年12月5日做出的涉案专利的无效宣告决定结果有关。如果专利被全部无效,一般就是撤诉。




首页
上一篇 

评论